网站地图
联系方式
0373-5583595
首 页
关于我们
新闻中心
产品中心
服务支持
产品购买
人力资源
联系我们
公司简介
企业文化
发展历程
领导致辞
减速器设备
冶金设备
数码印刷设备
售后服务
技术服务
在线预订
购买须知
招聘信息
产品展示
您当前的位置:产品展示
减速器设备
蜗轮螺杆升降机
圆柱齿轮减速器
三合一减速器
其它非标减速器
行星齿轮减速器
冶金设备
数码印刷设备
产品展示
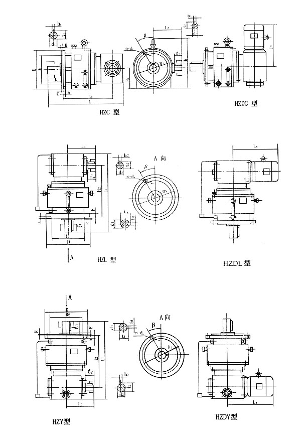
HZ系列星轮减速器
电 话:0373-5583595
传 真:0373-5583597
邮 箱:maguoxi555@163.com
地 址:新乡经济开发区中央大道北段